搜尋
註冊
登錄
FSC 蝦皮商城
FSC_IG
FSC 粉絲團
MK4社團
精選文章
改裝秀場
故障統計
車研究
FSC 2019 FOCUS MK4 紀念貼上市
Focus 新車型現身
Ford Focus ST Wagon 性能旅行車亮相
英國公佈新一代 Ford Focus ST 售價
[活動] 吸水巨獸擦車收水布到貨了 現送 FSC 貼紙
[DIY]Focus mk3安裝小糸(koito)Bi-LED魚眼
全新 Ford Kuga/Escape 正式亮相
FOCUS MK4 行車電腦設定介紹
激試!和FSC車友一起試駕趣 |Ford Focus MK4 4D
[活動] 說出喜歡 focus mk4 哪裡 , 抽 focus 帽T
FSC FOCUS MK4 社團 , LINE 群
漫步在雲端 FOCUS ST-LINE 優雅試駕
ST LINE 山路試駕
4代Ford Focus正式發表
全新一代 Ford Focus ST 正式登場 2.3 280匹 7AT
好想買 FIESTA ST 2019 (focus mk4試駕)
FOCUS MK4 四門規格配備表出爐
四代 FOCUS 入門搭載 1.5自然進氣 , 六速手自排
全新第四代 Ford Focus 將於 2/20 上市
馬上行動 去買超額險吧 !!! 機車記得也買
Ford Focus進口車型現身 , wagon 要來了 ?
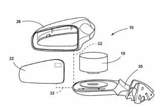
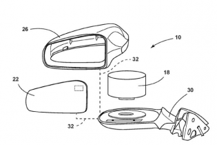
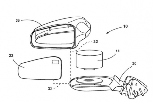
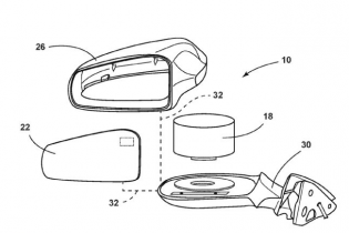
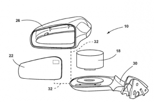
整合更精簡 Ford 新專利雷達整合後照鏡
12 款車型 長安福特第四代 Ford Focus 正式在中國上市
FSC + 7CAR 試駕 AURIS 影片出爐囉 ! (附車友感想文)
當 FOCUS 車主遇上 TOYOTA ARIUS
車友阿泰 toyota arius 試駕文
(DIY)↝TDCi 變速箱濾芯套磁環
Ford 駁斥英媒報導將停產主力車系 Mondeo 之消息
新造型融入 阿根廷規格 Ford Fiesta 上市
重返歐洲 全新 Ford Trucks Tractor 即將登場
‹ 上一頁
…
1
2
3
4
5
…
下一頁 ›
53
加入贊助商
|
免責聲明
|
聯絡我們
Since 2005